|
6.2 正截面承载力计算
(Ⅲ) 正截面受压承载力计算
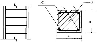
6.2.15 钢筋混凝土轴心受压构件,当配置的箍筋符合本规范第 9.3 节的规定时,其正截面受压承载力应符合下列规定(图 6.2.15):
N≤0.9φ(fcA+fy'As') (6.2.15)
式中:N——轴向压力设计值;
φ——钢筋混凝土构件的稳定系数,按表 6.2.15 采用;
fc——混凝土轴心抗压强度设计值,按本规范表 4.1.4-1 采用;
A——构件截面面积;
As'——全部纵向钢筋的截面面积。
当纵向钢筋配筋率大于 3%时,公式(6.2.15)中的 A 应改用(A-As')代替。
表 6.2.15 钢筋混凝土轴心受压构件的稳定系数
| l0/b |
≤8 |
10 |
12 |
14 |
16 |
18 |
20 |
22 |
24 |
26 |
28 |
| l0/d |
≤7 |
8.5 |
10.5 |
12 |
14 |
15.5 |
17 |
19 |
21 |
22.5 |
24 |
| l0/i |
≤28 |
35 |
42 |
48 |
55 |
62 |
69 |
76 |
83 |
90 |
97 |
| φ |
1.00 |
0.98 |
0.95 |
0.92 |
0.87 |
0.81 |
0.75 |
0.70 |
0.65 |
0.60 |
0.56 |
| l0/b |
30 |
32 |
34 |
36 |
38 |
40 |
42 |
44 |
46 |
48 |
50 |
| l0/d |
26 |
28 |
29.5 |
31 |
33 |
34.5 |
36.5 |
38 |
40 |
41.5 |
43 |
| l0/i |
104 |
111 |
118 |
125 |
132 |
139 |
146 |
153 |
160 |
167 |
174 |
| φ |
0.52 |
0.48 |
0.44 |
0.40 |
0.36 |
0.32 |
0.29 |
0.26 |
0.23 |
0.21 |
0.19 |
注:1 l0为构件的计算长度,对钢筋混凝土柱可按本规范第 6.2.20 条的规定取用;
2 b 为矩形截面的短边尺寸,d 为圆形截面的直径,i 为截面的最小回转半径。

图 6.2.15 配置箍筋的钢筋混凝土轴心受压构件
6.2.16 钢筋混凝土轴心受压构件,当配置的螺旋式或焊接环式间接钢筋符合本规范第 9.3.2 条的规定时,其正截面受压承载力应符合下列规定(图 6.2.16):

图 6.2.16 配置螺旋式间接箍筋的钢筋混凝土轴心受压构件
N≤0.9(fcAcor+fy'As'+2αfyvAss0) (6.2.16-1)
Ass0=πdcorAss1/s (6.2.16-2)
式中:fyv——间接钢筋的抗拉强度设计值,按本规范第 4.2.3 条的规定采用;
Acor——构件的核心截面面积,取间接钢筋内表面范围内的混凝土截面面积;
Ass0——螺旋式或焊接环式间接钢筋的换算截面面积;
dcor——构件的核心截面直径,取间接钢筋内表面之间的距离;
Ass1——螺旋式或焊接环式单根间接钢筋的截面面积;
s——间接钢筋沿构件轴线方向的间距;
α——间接钢筋对混凝土约束的折减系数:当混凝土强度等级不超过 C50 时,取 1.0,当混凝土强度等级为 C80 时,取 0.85,其间按线性内插法确定。
注:1 按公式(6.2.16-1)算得的构件受压承载力设计值不应大于按本规范式(6.2.15)算得的构件受压承载力设计值的 1.5 倍;
2 当遇到下列任意一种情况时,不应计入间接钢筋的影响,而应按本规范第 6.2.15 条的规定进行计算:
1) 当 l0/d>12 时;
2) 当按公式(6.2.16-1)算得的受压承载力小于按本规范式(6.2.15)算得的受压承载力时;
3)当间接钢筋的换算截面面积 Ass0小于纵向钢筋的全部截面面积的 25%时。
6.2.17
6.2.18
6.2.19
6.2.20 轴心受压和偏心受压柱的计算长度 l0 可按下列规定确定:
1 刚性屋盖单层房屋排架柱、露天吊车柱和栈桥柱,其计算长度 l0 可按表 6.2.20-1 取用。
表 6.2.20-1 刚性屋盖单层房屋排架柱、露天吊车柱和栈桥柱的计算长度
| 柱的类别 |
l0 |
| 排架方向 |
垂直排架方向 |
| 有柱间支撑 |
无柱间支撑 |
| 无吊车房屋柱 |
单跨 |
1.5H |
1.0H |
1.2H |
| 两跨及多跨 |
1.25H |
1.0H |
1.2H |
| 有吊车房屋柱 |
上柱 |
2.0Hu |
1.25Hu |
1.5Hu |
| 下柱 |
1.0Hl |
0.8Hl |
1.0Hl |
| 露天吊车柱和栈桥柱 |
2.0Hl |
1.0Hl |
—— |
注:1 表中 H
为从基础顶面算起的柱子全高;Hl 为从基础顶面至装配式吊车梁底面或现浇式吊车梁顶面的柱子下部高度;Hu 为从装配式吊车梁底面或从现浇式吊车梁顶面算起的柱子上部高度;
2 表中有吊车房屋排架柱的计算长度,当计算中不考虑吊车荷载时,可按无吊车房屋柱的计算长度采用,但上柱的计算长度仍可按有吊车房屋采用;
3 表中有吊车房屋排架柱的上柱在排架方向的计算长度,仅适用于 Hu/Hl 不小于 0.3 的情况;当 Hu/Hl 小于 0.3 时,计算长度宜采用 2.5Hu。
2 一般多层房屋中梁柱为刚接的框架结构,各层柱的计算长度 l0 可按表 6.2.20-2 取用。
表 6.2.20-2 框架结构各层柱的计算长度
| 楼盖类型 |
柱的类别 |
l0 |
| 现浇楼盖 |
底层柱 |
1.0H |
| 其余各层柱 |
1.25H |
| 装配式楼盖 |
底层柱 |
1.25H |
| 其余各层柱 |
1.5H |
注:表中 H 为底层柱从基础顶面到一层楼盖顶面的高度;对其余各层柱为上下两层楼盖顶面之间的高度。
6.2.21 对截面具有两个互相垂直的对称轴的钢筋混凝土双向偏心受压构件(图 6.2.21),其正截面受压承载力可选用下列两种方法之一进行计算:
1 按本规范附录 E 的方法计算,此时,附录 E
公式(E.0.1-7)和公式(E.0.1-8)中的 Mx、My 应分别用 Neix、Neiy 代替,其中,初始偏心距应按下列公式计算:
|