前一页 上一层

7.2 截面设计及构造

7.2.1 剪力墙的截面厚度应符合下列规定:

  1 应符合本规程附录 D 墙体稳定验算要求;

  2 一、二级剪力墙:底部加强部位不应小于 200mm,其他部位不应小于 160mm;一字形独立剪力墙底部加强部位不应小于 220mm,其他部位不应小于 180mm。

  3 三、四级剪力墙:不应小于 160mm;一字形独立剪力墙底部加强部位尚不应小于 180mm。

  4 非抗震设计时不应小于 160mm。

  5 剪力墙井筒中,分割电梯井或管道井的墙肢截面厚度可适当减少,但不宜小于 160mm。

7.2.2 抗震设计时,短肢剪力墙的设计应符合下列规定:

  1 短肢剪力墙截面厚度除应符合本规程第 7.2.1 条的要求外,底部加强部位尚不应小于 200mm,其他部位尚不应小于 180mm。

  2 一、二、三级短肢剪力墙的轴压比,分别不宜大于 0.45、0.50、0.55,一字形截面短肢剪力墙的轴压比限值应相应减少 0.1。

  3 短肢剪力墙的底部加强部位应按本节 7.2.6 条调整剪力设计值,其他各层一、二、三级时剪力设计值应分别乘以增大系数 1.4、1.2 和 1.1。

  4 短肢剪力墙边缘构件的设置应符合本规程第 7.2.14 条的规定。

  5 短肢剪力墙的全部竖向钢筋的配筋率,底部加强部位一、二级不宜小于 1.2%,三、四级不宜小于 1.0%;其他部位一、二级不宜小于 1.0%,三、四级不宜小于 0.8%。

  6 不宜采用一字形短肢剪力墙,不宜在一字形短肢剪力墙上布置平面外与之相交的单侧楼面梁。

7.2.3 高层剪力墙结构的竖向和水平分布钢筋不应单排配置。剪力墙截面厚度不大于 400mm 时,可采用双排配筋;大于 400mm、但不大于 700mm 时,宜采用三排配筋;大于 700mm 时,宜采用四排配筋。各排分布钢筋之间拉筋的间距不应大于 600mm,直径不应小于 6mm。

7.2.4 抗震设计的双肢剪力墙,其墙肢不宜出现小偏心受拉;当任一墙肢为偏心受拉时,另一墙肢的弯矩设计值及剪力设计值应乘以增大系数 1.25。

7.2.5 一级剪力墙的底部加强部位以上部位,墙肢的组合弯矩设计值和组合剪力设计值应乘以增大系数,弯矩增大系数可取为 1.2,剪力增大系数可取为 1.3。

7.2.6 底部加强部位剪力墙截面的剪力设计值,一、二、三级时应按式(7.2.6-1)调整,9度一级剪力墙应按式(7.2.6-2)调整;二、三级的其他部位及四级时可不调整。

V=ηvwVw

 

(7.2.6-1)

V=1.1MwuaVw/Mw

 

(7.2.6-2)

式中:V

——

底部加强部位剪力墙截面剪力设计值;

Vw

——

底部加强部位剪力墙截面考虑地震作用组合的剪力计算值;

Mwua

——

剪力墙正截面抗震受弯承载力,应考虑承载力抗震调整系数 γRE、采用实配纵筋面积、材料强度标准值和组合的轴力设计值等计算,有翼墙时应计入墙两侧各一倍翼墙厚度范围内的纵向钢筋;

Mw

——

底部加强部位剪力墙底截面弯矩的组合计算值;

ηvw

——

剪力增大系数,一级取 1.6,二级取 1.4,三级取 1.2。

7.2.7 剪力墙墙肢截面剪力设计值应符合下列规定:

  1 永久、短暂设计状况

V≤0.25βcfcbwhw0

 

(7.2.7-1)

  2 地震设计状况

  剪跨比 λ 大于 2.5 时

V≤(0.20βcfcbwhw0)/γRE

 

(7.2.7-2)

  剪跨比 λ 不大于 2.5 时

Vw≤(0.15βcfcbwhw0)/γRE

 

(7.2.7-3)

  剪跨比可按下式计算:

λ=Mc/(Vchw0

 

(7.2.7-4)

式中:Vw

——

剪力墙墙肢截面的剪力设计值;

hw0

——

剪力墙截面有效高度;

βc

——

混凝土强度影响系数,应按本规程第 6.2.6 条采用;

λ

——

剪跨比,其中 Mc、Vc 应取同一组合的、未按本规程有关规定调整的墙肢截面弯矩和剪力计算值,并取墙肢上、下端截面计算的剪跨比的较大值。

7.2.8 矩形、T形、I形偏心受压剪力墙墙肢(图 7.2.8)的正截面受压承载力应符合现行国家标准《混凝土结构设计规范》GB 50010 的有关规定,也可按下列规定计算:

  1 永久、短暂设计状况

N≤As'fy-Asσs-Nsw+Nc

 

(7.2.8-1)

N(e0+hw0-hw/2)≤As'fy'(hw0-as')-Nsw+Mc

 

(7.2.8-2)

当 x>hf' 时

Nc=α1fcbwx+α1fc(bf'-bw)hf'

 

(7.2.8-3)

Mc=α1fcbwx(hw0-x/2)+α1fc(bf'-bw)hf'(hw0-hf'/2)

 

(7.2.8-4)

当 x≤hf' 时

Nc=α1fcbf'x

 

(7.2.8-5)

Mc=α1fcbf'x(hw0-x/2)

 

(7.2.8-6)

当 x≤ξbhw0

σs=fy

 

(7.2.8-7)

Nsw=(hw0-1.5x)bwfywρw

 

(7.2.8-8)

Msw=(hw0-1.5x)2bwfywρw/2

 

(7.2.8-9)

当 x>ξbhw0

σs=fy(x/hw0-βc)/(ξb-0.8)

 

(7.2.8-10)

Nsw=0

 

(7.2.8-11)

Msw=0

 

(7.2.8-12)

σs=βc/(1+fy/Esεcu

 

(7.2.8-13)

式中:as'

——

剪力墙受压区端部钢筋合力点到受压区边缘的距离;

bf'

——

T形或I形截面受压区翼缘宽度;

e0

——

偏心距,e0=M/N;

fy、fy'

——

分别为剪力墙端部受拉、受压钢筋强度设计值;

fyw

——

剪力墙墙体竖向分布钢筋强度设计值;

fc

——

混凝土轴心抗压强度设计值;

hf'

——

T形或I形截面受压区翼缘的高度;

hw0

——

剪力墙截面有效高度,hw0=hw−as';

ρw

——

剪力墙竖向分布钢筋配筋率;

ξb

——

界限相对受压区高度;

α1

——

受压区混凝土矩形应力图的应力与混凝土轴心抗压强度设计值的比值,混凝土强度等级不超过 C50 时取 1.0,混凝土强度等级为 C80 时取 0.94,混凝土强度等级在 C50 和 C80 之间时可按线性内插取值;

βc

——

混凝土强度影响系数,按本规程第 6.2.6 条的规定采用;

εcu

——

混凝土极限压应变,应按现行国家标准《混凝土结构设计规范》GB 50010 的有关规定采用。

  2 地震设计状况,公式(7.2.8-1)、(7.2.8-2)右端均应除以承载力抗震调整系数 γRE,γRE 取 0.85。

7.2.9 矩形截面偏心受拉剪力墙的正截面受拉承载力应符合下列规定:

  1 永久、短暂设计状况

N≤1/(1/N0u+e0/Mwu

 

(7.2.9-1)

  2 地震设计状况

N≤1/[γRE(1/N0u+e0/Mwu)]

 

(7.2.9-2)

  N0u 和 Mwu 可分别按下列公式计算:

N0u=2Asfy+Aswfyw

 

(7.2.9-3)

Mwu=Asfy(hw0-as')+Aswfyw(hw0-as')/2

 

(7.2.9-4)

式中:Asw

——

剪力墙竖向分布钢筋的截面面积。

7.2.10 偏心受压剪力墙的斜截面受剪承载力应符合下列规定:

  1 永久、短暂设计状况

V≤(0.5ftbwhw0+0.13NAw/A)/(λ-0.5)+fyhAshhw0/s

 

(7.2.10-1)

  2 地震设计状况

V≤[(0.4ftbwhw0+0.1NAw/A)/(λ-0.5)+0.8fyhAshhw0/s]/γRE

 

(7.2.10-2)

式中:N

——

剪力墙截面轴向压力设计值,N 大于 0.2fcbwhw 时,应取 0.2fcbwhw

A

——

剪力墙全截面面积;

Aw

——

T形或I形截面剪力墙腹板的面积,矩形截面时应取 A;

λ

——

计算截面的剪跨比,λ 小于 1.5 时应取 1.5,λ 大于 2.2 时应取 2.2,计算截面与墙底之间的距离小于 0.5hw0 时,λ 应按距墙底 0.5hw0 处的弯矩值与剪力值计算;

s

——

剪力墙水平分布钢筋间距。

7.2.11 偏心受拉剪力墙的斜截面受剪承载力应符合下列规定:

  1 永久、短暂设计状况

V≤(0.5ftbwhw0-0.13NAw/A)/(λ-0.5)+fyhAshhw0/s

 

(7.2.11-1)

  上式右端的计算值小于 fyhAshhw0/s 时,应取等于 fyhAshhw0/s。

  2 地震设计状况

V≤[(0.4ftbwhw0-0.1NAw/A)/(λ-0.5)+0.8fyhAshhw0/s]/γRE

 

(7.2.11-2)

  上式右端方括号内的计算值小于 0.8fyhAshhw0/s 时,应取等于 0.8fyhAshhw0/s。

7.2.12 抗震等级为一级的剪力墙,水平施工缝的抗滑移应符合下式要求:

Vwj≤(0.6fyAs+0.8N)/γRE

 

(7.2.12)

式中:Vwj

——

剪力墙水平施工缝处剪力设计值;

As

——

水平施工缝处剪力墙腹板内竖向分布钢筋和边缘构件中的竖向钢筋总面积(不包括两侧翼墙),以及在墙体中有足够锚固长度的附加插筋面积;

fy

——

竖向钢筋抗拉强度设计值;

N

——

水平施工缝处考虑地震作用组合的轴向力设计值,压力取正值,拉力取负值。

7.2.13 重力荷载代表值作用下,一、二、三级剪力墙墙肢的轴压比不宜超过表 7.2.13 的限值。

表 7.2.13 剪力墙墙肢轴压比限值

抗震等级

一级(9 度)

一级(6、7、8 度)

二级、三级

轴压比限值

0.4

0.5

0.6

注:墙肢轴压比是指在重力荷载代表值作用下墙肢承受的轴压力设计值与墙肢的全截面面积和混凝土轴心抗压强度设计值乘积之比值。

7.2.14 剪力墙两端和洞口两侧应设置边缘构件,并应符合下列要求:

  1 一、二、三级抗震等级剪力墙底层墙肢底截面的轴压比大于表 7.2.14 的规定值时,以及部分框支剪力墙结构的剪力墙,应在底部加强部位及相邻的上一层设置约束边缘构件,约束边缘构件应符合本规程第 7.2.15 条的规定;

表 7.2.174 剪力墙可不设约束边缘构件的最大轴压比

等级或烈度

一级(9 度)

一级(6、7、8 度)

二级、三级

轴压比

0.1

0.2

0.3

  2 除本条第 1 款所列部位外,剪力墙应按本规程第 7.2.16 条设置构造边缘构件;

  3 B 级高度高层建筑的剪力墙,宜在约束边缘构件层与构造边缘构件层之间设置 1~2 层过渡层,过渡层边缘构件的箍筋配置要求可低于约束边缘构件的要求,但应高于构造边缘构件的要求。

7.2.15 剪力墙的约束边缘构件可为暗柱、端柱和翼墙(图 7.2.15),并应符合下列规定:

  1 约束边缘构件沿墙肢的长度 lc 和箍筋配箍特征值 λv 应符合表 7.2.15 的要求,其体积配箍率 ρv 应按下式计算:

ρv=λvfc/fyv

 

(7.2.15)

式中:ρv

——

箍筋体积配箍率。可计入箍筋、拉筋以及符合构造要求的水平分布钢筋,计入的水平分布钢筋的体积配箍率不应大于总体积配箍率的 30%;

λv

——

约束边缘构件配箍特征值;

fc

——

混凝土轴心抗压强度设计值;混凝土强度等级低于 C35 时,应取 C35 的混凝土轴心抗压强度设计值;

fyv

——

箍筋、拉筋或水平分布钢筋的抗拉强度设计值。

表 7.2.15 约束边缘构件沿墙肢的长度 lc 及其配箍特征值 λv

项目

一级(9 度)

一级(6、7、8 度)

二级、三级

轴压比限值

μN≤0.2

μN>0.2

μN≤0.3

μN>0.3

μN≤0.4

μN>0.4

lc(暗柱)

0.20hw

0.25hw

0.15hw

0.20hw

0.15hw

0.20hw

lc(翼墙或端柱)

0.15hw

0.20hw

0.10hw

0.15hw

0.10hw

0.15hw

λv

0.12

0.20

0.12

0.20

0.12

0.20

注:1 μN 为墙肢在重力荷载代表值作用下的轴压比,hw 为墙肢的长度;

  2 剪力墙的翼墙长度小于翼墙厚度的 3 倍或端柱截面边长小于 2 倍墙厚时,按无翼墙、无端柱查表;

  3 lc 为约束边缘构件沿墙肢的长度(图 7.2.15)。对暗柱不应小于墙厚和 400mm 的较大值;有翼墙或端柱时,不应小于翼墙厚度或端柱沿墙肢方向截面高度加 300mm。

图 7.2.15 剪力墙的约束边缘构件

  2 剪力墙约束边缘构件阴影部分(图 7.2.15)的竖向钢筋除应满足正截面受压(受拉)承载力计算要求外,其配筋率一、二、三级时分别不应小于 1.2%、1.0%和1.0%,并分别不应少于 8φ16、6φ16 和 6φ14 的钢筋(φ 表示钢筋直径);

  3 约束边缘构件内箍筋或拉筋沿竖向的间距,一级不宜大于 100mm,二、三级不宜大于 150mm;箍筋、拉筋沿水平方向的肢距不宜大于 300mm,不应大于竖向钢筋间距的 2 倍。

7.2.16 剪力墙构造边缘构件的范围宜按图 7.2.16 中阴影部分采用,其最小配筋应满足表 7.2.16 的规定,并应符合下列规定:

  1 竖向配筋应满足正截面受压(受拉)承载力的要求;

  2 当端柱承受集中荷载时,其竖向钢筋、箍筋直径和间距应满足框架柱的相应要求;

  3 箍筋、拉筋沿水平方向的肢距不宜大于 300mm,不应大于竖向钢筋间距的2倍;

  4 抗震设计时,对于连体结构、错层结构以及 B 级高度高层建筑结构中的剪力墙(筒体),其构造边缘构件的最小配筋应符合下列要求:

1)竖向钢筋最小量应比表 7.2.16 中的数值提高 0.001Ac 采用;

2)箍筋的配筋范围宜取图 7.2.16 中阴影部分,其配箍特征值 λv 不宜小于 0.1。

  5 非抗震设计的剪力墙,墙肢端部应配置不少于 4φ12 的纵向钢筋,箍筋直径不应小于 6mm、间距不宜大于 250mm。

表 7.2.16 剪力墙构造边缘构件的最小配筋要求

抗震等级

底部加强部位

竖向钢筋最小量
(取较大值)

箍筋

最小直径
(mm)

沿竖向最大间距
(mm)

0.01Ac,6φ16

8

100

0.008Ac,6φ14

8

150

0.006Ac,6φ12

6

150

0.005Ac,4φ12

6

200

抗震等级

其他部位

纵向钢筋最小量
(取较大值)

箍筋、拉筋

最小直径
(mm)

沿竖向最大间距

0.008Ac,6φ14

8

150

0.006Ac,6φ12

8

200

0.005Ac,4φ12

6

200

0.004Ac,4φ12

6

200

注:1 Ac 为构造边缘构件的截面面积,即图 7.2.16 剪力墙截面的的阴影部分;

  2 符号 φ 表示钢筋直径;

  3 其他部位的转角处宜采用箍筋。

图 7.2.16 剪力墙的构造边缘构件范围

7.2.17 剪力墙竖向和水平分布钢筋的配筋率,一、二、三级时均不应小于 0.25%,四级和非抗震设计时均不应小于 0.20%。

注:1 《混凝土结构通用规范》(GB 55008—2021)废止的现行工程建设标准相关强制性条文。

  2 第 4.4.7 条第 1 款取代。

7.2.18 剪力墙的竖向和水平分布钢筋的间距均不宜大于 300mm,直径不应小于 8mm。剪力墙的竖向和水平分布钢筋的直径不宜大于墙厚的 1/10。

7.2.19 房屋顶层剪力墙、长矩形平面房屋的楼梯间和电梯间剪力墙、端开间纵向剪力墙以及端山墙的水平和竖向分布钢筋的配筋率均不应小于 0.25%,间距均不应大于 200mm。

7.2.20 剪力墙的钢筋锚固和连接应符合下列规定:

  1 非抗震设计时,剪力墙纵向钢筋最小锚固长度应取 la;抗震设计时,剪力墙纵向钢筋最小锚固长度应取 laE。la、laE 的取值应符合本规程第 6.5 节的有关规定。

  2 剪力墙竖向及水平分布钢筋采用搭接连接时(图 7.2.20),一、二级剪力墙的底部加强部位,接头位置应错开,同一截面连接的钢筋数量不宜超过总数量的 50%,错开净距不宜小于 500mm;其他情况剪力墙的钢筋可在同一截面连接。分布钢筋的搭接长度,非抗震设计时不应小于 1.2la,抗震设计时不应小于 1.2laE

图 7.2.20 剪力墙分布钢筋的搭接连接

1—竖向分布钢筋;2—水平分布钢筋;非抗震设计时图中 laE 取 la

  3 暗柱及端柱内纵向钢筋连接和锚固要求宜与框架柱相同,宜符合本规程第 6.5 节的有关规定。

7.2.21 连梁两端截面的剪力设计值V应按下列规定确定:

  1 非抗震设计以及四级剪力墙的连梁,应分别取考虑水平风荷载、水平地震作用组合的剪力设计值。

  2 一、二、三级剪力墙的连梁,其梁端截面组合的剪力设计值应按式(7.2.21-1)确定,9 度时一级剪力墙的连梁应按式(7.2.21-2)确定。

V=ηvb(Mbl+Mbr)/ln+VGb

 

(7.2.21-1)

V=1.1(Mbual+Mbuar)/ln+VGb

 

(7.2.21-2)

式中:Mbl、Mbr

——

分别为连梁左右端截面顺时针或逆时针方向的弯矩设计值;

Mbual、Mbuar

——

分别为连梁左右端截面顺时针或逆时针方向实配的抗震受弯承载力所对应的弯矩值,应按实配钢筋面积(计入受压钢筋)和材料强度标准值并考虑承载力抗震调整系数计算;

ln

——

连梁的净跨;

VGb

——

在重力荷载代表值作用下按简支梁计算的梁端截面剪力设计值;

ηvb

——

连梁剪力增大系数,一级取 1.3,二级取 1.2,三级取 1.1。

7.2.22 连梁截面剪力设计值应符合下列规定:

  1 永久、短暂设计状况

V≤0.25βcfcbbhb0

 

(7.2.22-1)

  2 地震设计状况

跨高比大于 2.5 的连梁

V≤0.20βcfcbbhb0RE

 

(7.2.22-2)

跨高比不大于 2.5 的连梁

V≤0.15βcfcbbhb0RE

 

(7.2.22-3)

式中:V

——

按本规程第 7.2.21 条调整后的连梁截面剪力设计值;

bb

——

连梁截面宽度;

hb0

——

连梁截面有效高度;

βc

——

混凝土强度影响系数,见本规程第 6.2.6 条。

7.2.23 连梁的斜截面受剪承载力应符合下列规定:

  1 永久、短暂设计状况

V≤0.7ftbbhb0+fyvAsvhb0/s

 

(7.2.23-1)

  2 地震设计状况

跨高比大于 2.5 的连梁

V≤(0.42ftbbhb0+fyvAsvhb0/s)/γRE

 

(7.2.23-2)

跨高比不大于 2.5 的连梁

V≤(0.38ftbbhb0+0.9fyvAsvhb0/s)/γRE

 

(7.2.23-3)

式中:V

——

按本规程第 7.2.21 条调整后的连梁截面剪力设计值;

7.2.24 跨高比(l/hb)不大于 1.5 的连梁,非抗震设计时,其纵向钢筋的最小配筋率可取为 0.2%;抗震设计时,其纵向钢筋的最小配筋率宜符合表 7.2.24 的要求;跨高比大于 1.5 的连梁,其纵向钢筋的最小配筋率可按框架梁的要求采用。

表 7.2.24 跨高比不大于 1.5 的连梁纵向钢筋的最小配筋率(%)

跨高比

最小配筋率(采用较大值)

l/hb≤0.5

0.20,45ft/fy

0.5<l/hb≤1.5

0.25,55ft/fy

7.2.25 剪力墙结构连梁中,非抗震设计时,顶面及底面单侧纵向钢筋的最大配筋率不宜大于 2.5%;抗震设计时,顶面及底面单侧纵向钢筋的最大配筋率宜符合表 7.2.25 的要求。如不满足,则应按实配钢筋进行连梁强剪弱弯的验算。

表 7.2.25 连梁纵向钢筋的最大配筋率(%)

跨高比

最大配筋率(采用较大值)

l/hb≤1.0

0.60

1.0<l/hb≤2.0

1.2

2.0<l/hb≤2.5

1.5

7.2.26 剪力墙的连梁不满足本规程第 7.2.22 条的要求时,可采取下列措施:

  1 减小连梁截面高度或采取其他减小连梁刚度的措施。

  2 抗震设计剪力墙连梁的弯矩可塑性调幅;内力计算时已经按本规程第 5.2.1 条的规定降低了刚度的连梁,其弯矩值不宜再调幅,或限制再调幅范围。此时,应取弯矩调幅后相应的剪力设计值校核其是否满足本规程第 7.2.22 条的规定;剪力墙中其他连梁和墙肢的弯矩设计值宜视调幅连梁数量的多少而相应适当增大。

  3 当连梁破坏对承受竖向荷载无明显影响时,可按独立墙肢的计算简图进行第二次多遇地震作用下的内力分析,墙肢截面应按两次计算的较大值计算配筋。

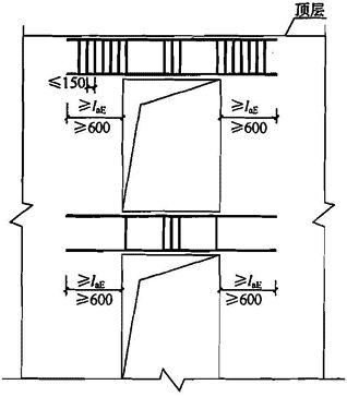
7.2.27 连梁的配筋构造(图 7.2.27)应符合下列规定:

  1 连梁顶面、底面纵向水平钢筋伸入墙肢的长度,抗震设计时不应小于 laE,非抗震设计时不应小于 la,且均不应小于 600mm。

  2 抗震设计时,沿连梁全长箍筋的构造应符合本规程第 6.3.2 条框架梁梁端箍筋加密区的箍筋构造要求;非抗震设计时,沿连梁全长的箍筋直径不应小于 6mm,间距不应大于 150mm。

  3 顶层连梁纵向水平钢筋伸入墙肢的长度范围内应配置箍筋,箍筋间距不宜大于150mm,直径应与该连梁的箍筋直径相同。

  4 连梁高度范围内的墙肢水平分布钢筋应在连梁内拉通作为连梁的腰筋。连梁截面高度大于 700mm时,其两侧面腰筋的直径不应小于 8mm,间距不应大于 200mm;跨高比不大于 2.5 的连梁,其两侧腰筋的总面积配筋率不应小于 0.3%。

图 7.2.27 连梁配筋构造示意

注:非抗震设计时图中 laE 取 la

7.2.28 剪力墙开小洞口和连梁开洞应符合下列规定:

  1 剪力墙开有边长小于 800mm 的小洞口、且在结构整体计算中不考虑其影响时,应在洞口上、下和左、右配置补强钢筋,补强钢筋的直径不应小于 12mm,截面面积应分别不小于被截断的水平分布钢筋和竖向分布钢筋的面积(图 7.2.28a);

  2 穿过连梁的管道宜预埋套管,洞口上、下的截面有效高度不宜小于梁高的 1/3,且不宜小于 200mm;被洞口削弱的截面应进行承载力验算,洞口处应配置补强纵向钢筋和箍筋(图 7.2.28b),补强纵向钢筋的直径不应小于 12mm。

图 7.2.28 洞口补强配筋示意

1—墙洞口周边补强钢筋;2—连梁洞口上、下补强钢筋;

3—连梁洞口补强箍筋;非抗震设计时图中 laE 取 la